Easy Test for the Dust in the Water

IEC 60529 test standard and GB/T4208 enclosure protection grade (IP code), in fact, there are descriptions for dust protection from number 1 to number 6, but only equipment that performs IP 5X and 6X tests. The reason is that the dust in the standard for 1 and 2 requires that the test must not completely enter the shell, that is, the entire diameter of the sphere must not pass through the shell opening. The characteristic of 3 and 4 is that the tested dust must not enter the shell at all. It can be seen from this that the overall protection level is very low.

Therefore, The environmental testing equipment industry does not manufacture appropriate testing equipment for these four characteristics. The requirements of IP 5X and IP 6X are that a limited amount of dust is allowed to enter under certain prescribed conditions, and no dust is allowed to enter. The dust is very fine, and it is conceivable to prevent it from entering. In fact, The test dust of the sand and dust test chamber is not only talc, But also portland cement, olivine or smoke ash, etc. in other standards, and its blowing method can also be continuous and periodic. IP 5X: Can not completely prevent dust from entering, but the amount of dust entering must not affect the normal operation of the equipment, and must not affect safety|IP 6X: No dust enters the test sample.

Physical picture of 1000 liter IEC 60529 sand and dust test chamber

In addition, The powder circulating pump in the closed test room can be replaced by other methods that can suspend the talc powder. The talcum powder should be filtered through a metal square-hole sieve, the diameter of the metal wire is 50μm, the size of the sieve is 75μm, the volume of the test box per cubic meter is 2kg, and the number of uses should not exceed 20 times. Moreover, The selection of talcum powder should also comply with various regulations on human health and safety.

Why do We Need the IEC 60529 Sand and Dust Tests ? The sand and dust test is mainly used for the sand and dust simulation testing of low-voltage electrical appliances, motors, instruments, meters, electronic products, and lamps. It is to evaluate the airtightness of mobile phones, electrical products and other products in a dusty environment, automobile and motorcycle parts, and seals. The sealing performance of parts in sand and dust, storage and transportation.

The dustproof test is suitable for the test of electric and electronic products, automobile and motorcycle parts, seals in the sand and dust environment to prevent sand and dust from entering the seal and shell, and the test method to determine the impact of dust suspended in the air on the product. Dust test is used to test the performance of electronic and electrical products, automobile, motorcycle parts, and seals in the use, storage, and transportation in a sandy dust environment.

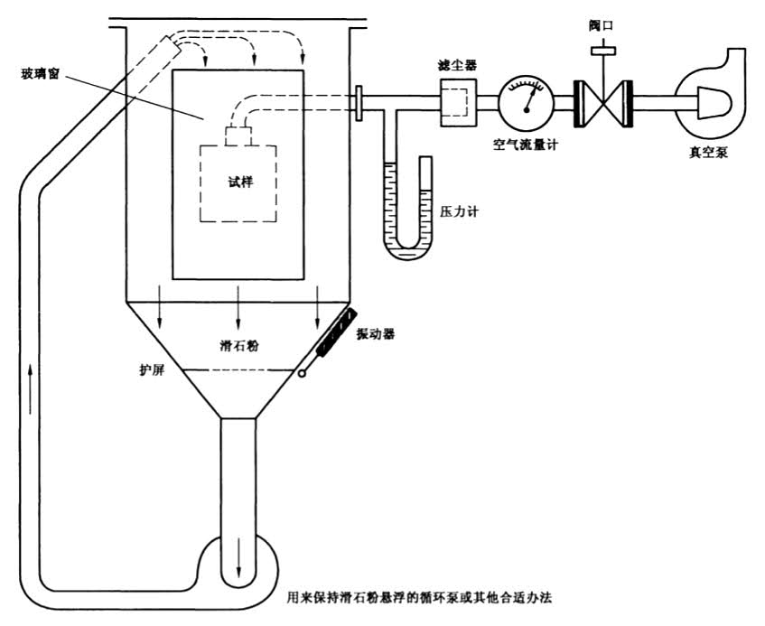
Description of the structure diagram of the IEC 60529 test chamber

Principles and Test Equipment for IEC 60529 Sand and Dust Test : The sand and dust test is completed with a sand and dust test chamber. The IEC 60529 sand and dust test chamber simulates the destructive nature of the wind and sand climate on the product, and is suitable for testing the enclosure sealing performance of the product. It is mainly used for the tests of the levels specified in the enclosure protection level standard. The working principle of the sand and dust test box is that a certain concentration of sand and dust is blown across the surface of the test sample at a certain flow rate by a fan, and the test samples are exposed to dry sand or dust-filled atmosphere. Or the ability of blocking effect and the ability to store and operate.

The equipment has a vertical circulating airflow with dust loaded, and the dust used in the test can be recycled. The entire air duct is made of imported high-grade stainless steel. The bottom of the air duct and the cone-shaped hopper interface and the air outlet are directly connected to the air duct. Then connect the diffuser at the top of the working chamber to the working chamber body at an appropriate position to form an "O"-shaped closed vertical dust blowing circulation system, so that the airflow can flow smoothly and the dust can be dispersed evenly to the greatest extent. The sand and dust test chamber uses a single high-power low-noise centrifugal fan, and the frequency converter is used to adjust the fan according to the needs of the test.


If the technical conditions of the sample are required, the sample should be pre-treated as required to keep the sample dry. The dustproof test is the most shell protection test part, usually connected with the waterproof test. After the sample completes the waterproof test, you must wait It's dry. Pretreatment of the sample Sand and Dust Test Process
If the pretreatment conditions are not specified for the sample, the sample should be placed in the following normal atmospheric conditions for more than 2H in accordance with the provisions of IEC 60529:
A. Temperature: Between +15℃ ~ +35℃;
B. Relative Temperature: 45% ~ 75%;
C. Atmospheric Pressure: 8Kpa ~ 106Kpa.
Put the pre-processed unpackaged sample into the working space of the dustproof box test equipment, unless the test sample is otherwise specified,Otherwise, the sample will not work if it is not energized during the test.  Put the sample into the test room
The volume of the sample shall not exceed the effective working space of the test equipment.
The distance between the tested samples and the dustproof equipment should not be less than 100mm.
Installation of samples with different protection levels: Vacuum
A. The protection level is IP5X. For the shell of the first type (Type A) sample where the air pressure in the shell is lower than the surrounding atmospheric pressure during normal use, an air extraction hole should be set close to the easy-to-change parts, and a hose should be used to attach the sample to the shell. The suction port and the suction of the vacuum system
B. The protection class is IP5X, and the pressure in the shell is lower than the surrounding atmospheric pressure during normal use. The shell of the second type (Class B) sample. If the product standard clearly stipulates that it is a Class B enclosure, the product to be inspected shall not be vacuumed during the IP5X test. If it is clearly specified, the products to be inspected are regarded as Class A enclosures and must be evacuated during the 1P5X test. Place the sample in the required position specified by the technical conditions of the sample.
C. Samples with protection class IP6X, no matter the shell of Type A or Type B samples, must be evacuated.
The amount of dry talc calculated according to the volume of the dust-proof test equipment per cubic meter (including the sum of the volume of the pipe and the working space) is 2㎏ and it can be put on the screen. Add talcum powder to the chute
Check the dustproof test equipment should be well sealed, should be able to prevent dust from escaping. Close the glass door of the test chamber
For samples that need to be evacuated, turn on the blower and vacuum exhaust system at the same time when starting up, and adjust the valve to make the vacuum and air flow meet the requirements of product technical conditions. For samples that do not need to be evacuated, only the blower is turned on, not turn on vacuum system Power On
After shutting down, open the left door of the case and open the valve under the funnel. Discharge the scrapped talcum powder, put the talcum powder to be replaced into the screen in the dust box chassis, and then manually turn on the vibration, The talc powder is vibrated into the funnel, and the rib wind will slide into the working space of the dust-proof test equipment. Replace Talcum Powder
If the technical conditions of the sample require intermediate testing, the blower of the vacuum system shall be stopped after the test reaches the specified time. After waiting for the dust to settle completely, open the glass door of the dust-proof box, and carry out the intermediate test without taking out the sample. For samples without intermediate testing requirements, when the test time or pumping volume meets the requirements, stop the action of the vacuum system and the blower, After waiting for the dust to settle completely, after taking out the sample, keep it for 1 to 2 hours under normal atmospheric pressure. Shutdown
A. Check the amount of dust entering the sample housing and where the dust settles. Final Inspection
B. Check items such as electrical and mechanical properties in accordance with the technical requirements of the sample.
A. If the technical conditions of the sample stipulate that the "initial measurement" is to be carried out, the measurement should be carried out before the sample enters the test equipment or before the blower of the dust-proof equipment is turned on. Supplementary Explanation
B. If the sample volume is too large to enter the dust-proof box equipment, the enclosed parts of the sample can be subjected to dust-proof test separately according to the product technical conditions.
C. According to the specifications of the sample technical conditions, a small sample with the same structure as the large sample can be used for the dustproof test, and the test result represents the large sample.
D. According to the technical requirements of the sample, the sample must be loaded during the test, and the load of the sample should be added during the dustproof test.
E. Talcum powder as "dust" should be screened with a 200-mesh sieve as required and kept in a dry state before being put into the test equipment.
F. The talcum powder should be replaced regularly according to the requirements of the dustproof test.
G. Check the suspension condition of the sample before the test. Note that vibration may occur when the machine is turned on, and prevent the sample from falling from the hook due to the unstable suspension and the solid vibration causing the sample to hit the wall, which may damage the sample and damage the dust box.
H. The joints of the vacuum system must not leak air. The gas flowmeter and pressure gauge should be installed and used according to the requirements of the instrument. Check whether the vacuum oil in the vacuum pump is insufficient and whether the air volume of the blower is appropriate.

When it comes to waterproofing in life, people first think of mobile phones, watches, etc., because they are common and commonly used by us, and when it comes to dust resistance, we also think of mobile phone protective films, display screens, and common electronic appliances. Many, in fact, many companies don't know what the IP protection level is, what is the standard method of dust and water resistance testing, let's take a look.

IP is an internationally recognized protection level. The IP test is aimed at the dustproof and waterproof test requirements of the product. The degree of protection refers to the test method specified in the standard to determine the degree of protection provided by the enclosure against people approaching dangerous parts and preventing solid foreign objects from entering or water entering.

The physical picture of the test area of the IEC 60529 sand and dust test chamber

IP protection level generally refers to the protection performance of the enclosure of electronic and electrical products, including two parts, dustproof and waterproof. The IP protection level system is drafted by the IEC, which classifies electrical appliances according to their dust-proof and moisture-proof characteristics.

The first characteristic number of the IP code represents the dustproof level, and the second characteristic number represents the waterproof level. There is a special test specification IEC/EN60529 internationally. The top marking numbers indicate the level of contact protection and foreign object protection. Generally speaking, Most of the conditions of IEC or EN 60529, such as test conditions or test judgments, are modified to meet the requirements of their special products.


IEC60529 is a standard document of the international electrotechnical commission on the protection level of enclosures and equipment in enclosures. The so-called protection level is the use of standardized test methods to detect the proximity of the enclosure to dangerous components, usually represented by IP codes. The IP code is a coding system used to indicate the degree of protection of the enclosure against dangerous components, the entry of external solid targets and the entry of water, and to give information related to these degrees of protection.


 Dust Protection Test Grade and Test Method|IEC 60529 Sand and Dust Test Procedure and Method

 IP1X: means that the spherical test tool with a diameter of 50mm cannot enter the void into the product.
 IP2X: means that a spherical object with a diameter of 12.5mm cannot penetrate the product gap.
 IP3X: It means that the test tool with a diameter of 2.5mm cannot penetrate the gap of the product.
 IP4X: The metal wire with a diameter of 1mm cannot penetrate the product gap and affect dangerous parts.
 IP5X: Placed in a sand dust box, open the lid to check that there is no dust inside the product, if a little does not affect the product performance, the load standard requirements can also be determined.
 IP6X: The product needs to be pumped under negative pressure, placed in a sand dust box, open the lid for inspection, it is dust-tight, no dust can enter, and it is judged to meet the standard requirements.

The IP code generally consists of a four-digit code. For example, IP23CH, where IP is the letter of the international protection code; 2 is the first characteristic number, which indicates the degree of protection of the enclosure for access to dangerous parts and external solid targets. It can be represented by a number from 0 to 6. If there is no such feature, you can use X instead; 3 is the second feature number, which indicates the protection against water immersion, which can be represented by a number from 0 to 8.

If there is no such feature, it can also be replaced by X; C is an additional letter, indicating the degree of protection close to dangerous parts, which can be identified by the four letters A, B, C, and D, but this item can be ignored; H is Supplementary letters can be identified by the four letters H, M, S, W, or they can be ignored.

robbinssonin1953.blogspot.com

Source: https://www.wewontech.com/iec-60529-sand-dust-test-method/

0 Response to "Easy Test for the Dust in the Water"

Enregistrer un commentaire

Iklan Atas Artikel

Iklan Tengah Artikel 1

Iklan Tengah Artikel 2

Iklan Bawah Artikel